1、一种梯度结构和孔隙阳极及制备方法和电池
专利号:CN113948732B
发明人:赵金保、张彦杰、寇聪聪
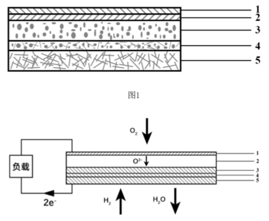
本发明公开了一种梯度结构和孔隙阳极及制备方法和电池。所述阳极依次设置为外层、过渡层和内层;所述外层分布有纤维孔,所述过渡层中分布有纤维孔、球孔以及二者连通的孔,所述内层中分布有球孔;所述纤维孔的孔径小于所述球孔,所述外层、过渡层、内层的孔隙率依次减小。采用该梯度结构和孔隙阳极的固体氧化物燃料电池,在保证单电池有足够的机械强度的同时,利用梯度结构和孔隙阳极有效降低电池浓差极化,从而优化电池性能。同时,本发明提出一种采用非水基流延脱膜和高温共烧结相结合的技术制备梯度结构和孔隙阳极的固体氧化物燃料电池的方法,有利于固体氧化物燃料电池技术的应用和产业化发展。
 
