随着社会的发展,能源匮乏和环境污染问题越来越严重,人类对传统能源的消耗量日益增大,进一步导致环境污染和温室效应的恶化。开发更加清洁有效的能源利用方式是非常必要的,燃料电池被认为是解决日益严重的全球能源危机和环境污染问题的有效的解决方案。它是一种通过电化学反应,将化学能转化成电能的装置,有高效率,环境友好以及安全可靠性高等优点。而基于氧离子传导的固体氧化物燃料电池(SOFC)是目前研究的热点,它既可以做固定电源,又可以做汽车、电脑、手机等的小型移动电源。
SOFC基本结构单元包括多孔的阴极材料和阳极材料以及致密的电解质。SOFC通常在高温(>600℃)下工作,它的发电效率超过60%,是发电效率最高的燃料电池。
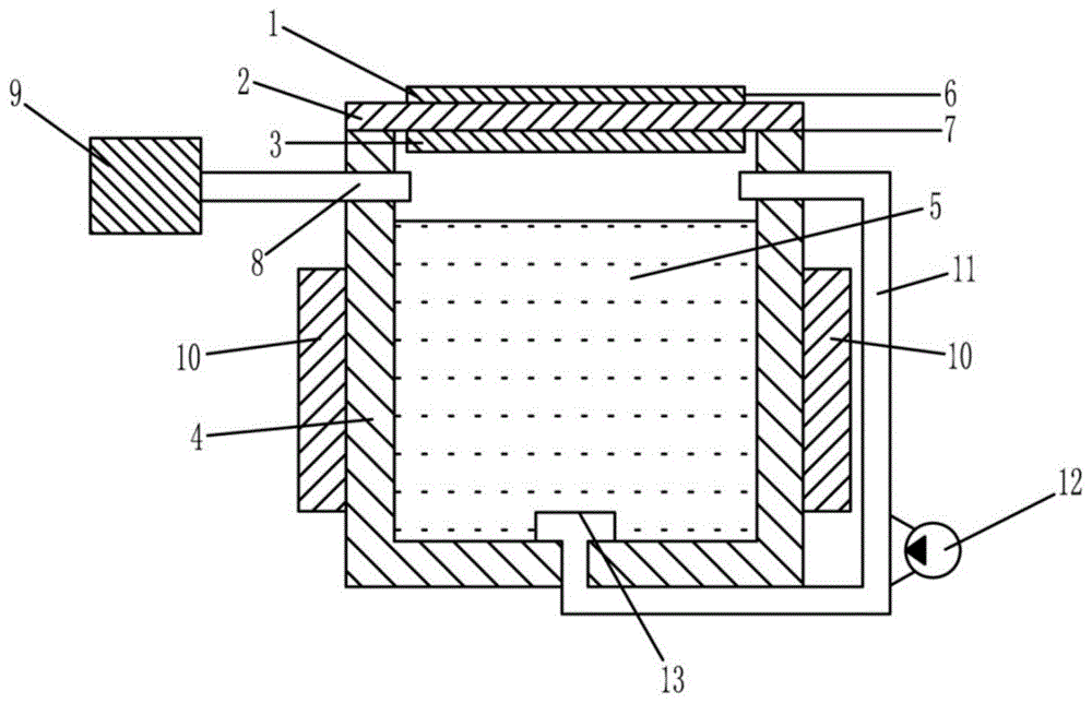
将SOFC与储氢材料结合起来构成可重复使用的二次燃料电池是拓宽SOFC应用的重要方法。目前的二次燃料电池中,使用金属及其氧化物对来储存氢气,但是由于工作温度很高,各种储能的金属及其氧化物材料容易烧结成大颗粒,导致气体流通不畅,电池效率因此下降。
在电池内部增加主动循环系统,利用压强差促进电池内部气体流动,从而提高金属整体的利用率,使得电池的放电性能更好,同时也能提高金属的使用寿命。这是对这种二次燃料电池的一种非常新颖的改进。
虽然专利CN108604689A中也涉及给相似的二次燃料电池外接气泵的设计,但是上述专利中气泵的设计是为了促进二次燃料电池中空气的流动,气泵与外界空气相通,使得空气在电极复合体中强制对流。而本发明气泵的设计是为了促进二次燃料电池内部氢气与水蒸气的流动,从而避免金属中气体流通不畅导致的性能下降,不需要气泵与外界有任何联通。
